Ebpay

中国数据治理解决方案市场

陆续在3年市场占有率第一

数据来源:IDC《中国数据治理市场份额》(2023、2022、2021)

查看详情 在线免费试用

亿信ABI

一站式数据分析平台

Ebpay深耕商业智能十多年,
打造一体化的填报、处理、可视化平台。

智问阶段性成果通告

时间:2019-02-14来源:Ebpay浏览数:668

经过一年的项目准备、知识积累和拼命研发,智问平台终于有了一个阶段性的成果——新版的智问,智问是Ebpay的新一代智能产品,这意味着Ebpay的市场开展方向将增加一个新的方向————人工智能方向。
     一、产品介绍
智问平台是我公司自主研发的基于深度学习、语义理解、知识图谱的智能问答平台,是一款智能的、一站式的数据整理和咨询应用平台,保证了数据从智能化整理到智慧使用的全过程。
二、产品特色
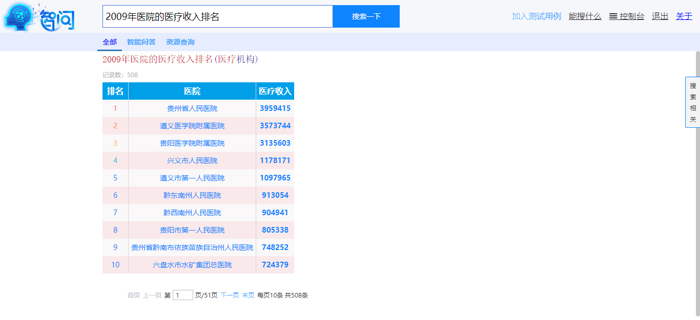
方便易用的交互方式——类似搜索引擎的交互方式,没有任何学习成本。
智问
方便易懂的知识整理——能将数据按真实的业务情况整理。

智问
智能的展现方式——根据问题智能选择最合理的展现方式。

智问


三、产品进展
智问平台的几大重要模块“知识体系”、“资源搜索”、“智能问答”已经完成开发,并经过测试验证。亟待项目的实际考验,同时给予了云环境方便大家体验智问的功能。

立即申请数据分析/数据治理产品免费试用 我要试用
customer

在线咨询

在线咨询

点击进入在线咨询